Help - broken down boat!

I've looked at the wiring diagrams and they don't show the ECU, power trim or steering pump being powered from the batteries, could they be powered directly from the alternators?

Batteries are only a couple of years old. Charging at 14v when on the plane.

Power trim works with the ignition on only as well -so no alternator spinning = a batt bank
Power steering is hydraulic from a pump normally on the Stb engine .

As said it seems just enough Juice to run the ECU until another demand like a trim pump .
Long shot its a faulty pump motor in the death throws drawing far too much current -when it works !
Decimating the V for a moment that the ECU was happily feeding on .

Whole thing needs checking out --conections 1st
Have you had em off the bat posts yet ? It's worth doing every year ,clean up refit -tighten re Vaseline etc

Nowts ever simple with a new (to you ) boat
 
Little update - as Paul says, tacho drops to zero. Feels like all power is cut to the engine, so ecu, supercharger etc.
I can do it on demand now. Belts looked ok this morning but going to have an in depth look after lunch.

Volt meters showing 14v on the plan, 10-11v when ticking in to lymington. I suspect it's a bit more complicated than just alternator failure but I am convinced it's electric not fuel related

How do you do it on demand? Is it just the Power Trim or the A/P too?

The only thing that's been touched is reseating of the two s/b drive trim relays mounted on the stern (you can get to them by squeezing down the side of the engine). Somebody suggested cleaning these with some contact cleaner and plugging them back in with some vaseline (there's some vaseline on board - no sniggering from the back). I'd be surprised if this could cause the issue that we're experiencing?
 
Little update - as Paul says, tacho drops to zero. Feels like all power is cut to the engine, so ecu, supercharger etc.
I can do it on demand now. Belts looked ok this morning but going to have an in depth look after lunch.

Volt meters showing 14v on the plan, 10-11v when ticking in to lymington. I suspect it's a bit more complicated than just alternator failure but I am convinced it's electric not fuel related
10-11v at tickover sounds way too low, so understand why the techie is saying alternator, but it doesn't feel right to me. Easy enough to check voltage against engine revs using a multimeter? Does one engine charge engine batts, the other the service batts? Used to do this on my Sunline iirc.
 
Another (none alternator ) explanation could be this .
As the V guage seems ok and the A light is not on

Then the charger needs looking at

Assuming the bats test true then chargers decay with time .Its been on sure but only giving out say 5 w instead ( guess ) the full say 40 w when new .
So over night it's just kinda got the charge over the line so to speak to start the engine s all feels as it should .
As Jez is bombing along turning on consumers -the trim pump ,and the ECU is gobbling juice
The 14 V charge at this point just can,t keep up cos of the low initial charge in the batts to start with due to duff charger .
Hope that all makes sence .
So you need a boat leccy to do a charger test if you want to peruse this theroey
 
Wiring%20Digram.jpg
 
Another (none alternator ) explanation could be this .
As the V guage seems ok and the A light is not on

Then the charger needs looking at

Assuming the bats test true then chargers decay with time .Its been on sure but only giving out say 5 w instead ( guess ) the full say 40 w when new .
So over night it's just kinda got the charge over the line so to speak to start the engine s all feels as it should .
As Jez is bombing along turning on consumers -the trim pump ,and the ECU is gobbling juice
The 14 V charge at this point just can,t keep up cos of the low initial charge in the batts to start with due to duff charger .
Hope that all makes sence .
So you need a boat leccy to do a charger test if you want to peruse this theroey
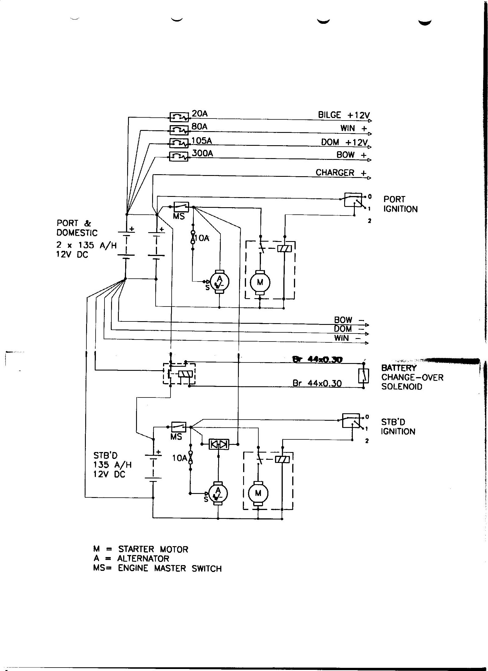
Do these engines have ECU's? Are the electronic or mechanical fuel injection systems? I can't see any ECU's on Pete's wiring diagram, unless that is a separate diagram?
 
appears like a bad DC connection, can be anywhere in the + or ground cabling,

place the negative probe of a DC voltmeter on the negative pole of one battery,
and the positive probe at different points of the DC cabling,
while trimming the engine,
any + connection should read 12,xx V
any ground connection, at different places around battery's or engine or ... should read 0,xxV
try to trace the connection where the voltage drops (pre connection is ok, right after is different/bad)
 
Engines are KAD44P/EDC's which have ECU's.

There are 10 wiring diagrams but none of them mention any of the engine's VP electrical systems (power trim, ECU, etc). I assume the power trim etc are all in the engine's wiring loom so not in the Fairline documentation.

Pete
 
appears like a bad DC connection, can be anywhere in the + or ground cabling,

place the negative probe of a DC voltmeter on the negative pole of one battery,
and the positive probe at different points of the DC cabling,
while trimming the engine,
any + connection should read 12,xx V
any ground connection, at different places around battery's or engine or ... should read 0,xxV
try to trace the connection where the voltage drops (pre connection is ok, right after is different/bad)

Note to self....

Buy a Voltmeter!
 
Stb engine has dedicated bat --that's good and there seems to be "bat change over solinoid " that's sensible too .
Just digressing when in the med after a long period @ anchor avec two fridges and poss an overnight ,start the Stb engine 1st as this bat in theroey should be almost fully charged .
If the port engine struggles to turn hit the x -over switch or "bat change over solinoid " ---same function

Ck the bat connections to the Stb bat first
Then the alternator function --although as I Infered what exactley is the warning light supose to do --as at the mo it's off suggesting the Alts working ? And you can see 14 v when revved up .
 
Do these engines have ECU's? Are the electronic or mechanical fuel injection systems? I can't see any ECU's on Pete's wiring diagram, unless that is a separate diagram?

Capitol M thingy ?

I just assumed as the symptoms described thus far --come on when extra demand is placed on the stb bat
 
Last edited:
Nope, that's Starter Motor.

Yep but we know there's an ECU somewhere on that engine - it does not matter where .
Looking at the diagram it seems the Stb engine is NOT on the shore power charger ( port eng + Dom only )
This means the only way to top that up is indeed by alternator .
That's maybe why the engineer suspects alternator ,the Stb one of course .
But it's kicking out 14 v and the light /alarm is off .

Strange -- a said ck the conections
 
11v at idle Is a sign of a charging problem,it should be 13.6v or more.

So I'd suspect alternator problem,but an electrician should be able to pinpoint it.
 
Last edited:
Yep but we know there's an ECU somewhere on that engine - it does not matter where .
Looking at the diagram it seems the Stb engine is NOT on the shore power charger ( port eng + Dom only )
This means the only way to top that up is indeed by alternator .
That's maybe why the engineer suspects alternator ,the Stb one of course .
But it's kicking out 14 v and the light /alarm is off .

Yep dedicated s/b engine battery is not charged from charger, only alternator (manual confirms this).

I have no idea why this is but JtB confirmed same design on his T40.
 
Yep, that's the conclusion I've come to!

Fair point, but does not really explain why touching a switch, A/P etc, when she is up to speed would have such a drastic effect. Voltage looks low at idle, OK when up to speed? If she conked at idle it would concur re low voltage impact. Sorry if I'm not clear, but I'm struggling with the logic. I'm much more in tune with Bart's dodgy connector or wiring, where something is breaking down when under load. Could also explain low voltage at idle.
 
Top