How do I adjust the throttle cable to hit hard stop max

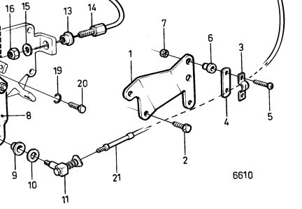
My problem is on a VP2000 speed control cable end.
Speed control cable.jpg
The cable outer does not line up with the clamp Item 3, it is too far away, so I am thinking of making a plate to move the position of the clamp to the right of the bracket Item 1. The engine stop cable end has a simple clamp just like old bicycle brake cables. However, I cannot work out how the spring and nut Item 11 is supposed to work on the speed cable rod end. ( Inaccessible so cant pull it apart.) If I can adjust the inner rod connection to the lever, I could just move the cable outer so that it would fit under the clamp Item 3. I am guessing the control cable is not an original.

If I could get to this gear, or had a proper engineering drawing, I could no doubt work out the design. These old VP parts diagrams are a bit sketchy. So can someone please explain how that Item 11 is supposed to function? I suppose the spring is to allow some length flexibility and tolerance, and the rod end screws into the triangular plate at the spring end?
 
My problem is on a VP2000 speed control cable end.
View attachment 163379
The cable outer does not line up with the clamp Item 3, it is too far away, so I am thinking of making a plate to move the position of the clamp to the right of the bracket Item 1. The engine stop cable end has a simple clamp just like old bicycle brake cables. However, I cannot work out how the spring and nut Item 11 is supposed to work on the speed cable rod end. ( Inaccessible so cant pull it apart.) If I can adjust the inner rod connection to the lever, I could just move the cable outer so that it would fit under the clamp Item 3. I am guessing the control cable is not an original.

If I could get to this gear, or had a proper engineering drawing, I could no doubt work out the design. These old VP parts diagrams are a bit sketchy. So can someone please explain how that Item 11 is supposed to function? I suppose the spring is to allow some length flexibility and tolerance, and the rod end screws into the triangular plate at the spring end?
The spring in number 11 is from memory only to allow the stop lever to move without being limited by the throttle arm
it would be rare that your throttle cable would be other than Morse 33c compatible although technically cables with other strokes ie 1 or 4inch can be manufactured but only by special order
i would suggest that the fault will be at the control end and involve the lost motion required to allow engaging gear without throttlie
you will require to know which control head you have and ideally have installation instructions
all properly marinised engine conform to 33c cable use but controls have slight differences in set up
 
The cable may be nonstandard or some other input or adjustment incorrect. It ought to be a standard morse/teleflex cable, perhaps as scottie suggests adjust at the control lever end, or release the cable temporarily until fitted to the engine end.
 
Top